
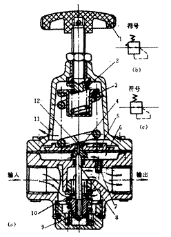
圖1—直動式溢流減壓閥的結構圖
壓力為P1的壓縮空氣,由左端輸入經閥口10節流后,壓力降為P2輸出。P2的大小可由調壓彈簧2、3進行調節。順時針旋轉旋鈕1,壓縮彈簧2、3及膜片5使閥芯8下移,增大閥口10的開度使P2增大。若反時針旋轉旋鈕1,閥口10的開度減小,P2隨之減小。 若P1瞬時升高,P2將隨之升高,使膜片氣室6內壓力升高,在膜片5上產生的推力相應增大,此推力破壞了原來力的平衡,使膜片5向上移動,有少部分氣流經溢流孔12、排氣孔11排出。在膜片上移的同時,因復位彈簧9的作用,使閥芯8也向上移動,關小進氣閥口10,節流作用加大,使輸出壓力下降,直至達到新的平衡為止,輸出壓力基本又回到原來值。若輸入壓力瞬時下降,輸出壓力也下降、膜片5下移,閥芯8隨之下移,進氣閥口10開大,節流作用減小,使輸出壓力也基本回到原來值。 逆時針旋轉旋鈕1。使調節彈簧2、3放松,氣體作用在膜片5上的推力大于調壓彈簧的作用力,膜片向上曲,靠復位彈簧的作用關閉進氣閥口10。再旋轉旋鈕1,進氣閥芯8的頂端與溢流閥座4將脫開,膜片氣室6中的壓縮空氣便經溢流孔12、排氣孔11排出,使閥處于無輸出狀態。
總之,溢流減壓閥是靠進氣口的節流作用減壓,靠膜片上力的平衡作用和溢流孔的溢流作用穩壓;調節彈簧即可使輸出壓力在一定范圍內改變。為防止以上溢流式減壓閥徘出少量氣體對周圍環境的污染,可采用不帶溢流閥的減壓閥(即普通減壓閥)。

圖2—內部先導式減壓閥的結構圖
當減壓閥的輸出壓力較高或通徑較大時,用調壓彈簧直接調壓,則彈簧剛度必然過大,流量變化時,輸出壓力波動較大,閥的結構尺寸也將增大。為了克服這些缺點,可采用先導式減壓閥。先導式減壓閥的工作原理與直動式的基本相同。先導式減壓閥所用的調壓氣體,是由小型的直動式減壓閥供給的。若把小型直動式減壓閥裝在閥體內部,則稱為內部先導式減壓閥;若將小型直動式減壓閥裝在主閥體外部,則稱為外部先導式減壓閥。 圖2所示為內部先導式減壓閥的結構圖,與直動式減壓閥相比,該閥增加了由噴嘴4、擋板3、固定節流孔9及氣室B所組成的噴嘴擋板放大環節。當噴嘴與擋板之間的距離發生微小變化時,就會使B室中的壓力發生根明顯的變化,從而引起膜片10有較大的位移,去控制閥芯6的上下移動,使進氣閥口8開大或關小、提高了對閥芯控制的靈敏度,即提高了穩壓精度。

圖14-3所示為外部先導式減壓閥的主閥,其工作原理與直動式相同。在主閥體外部還有一個小型直動式減壓閥,由它來控制主閥。此類閥適于通徑在20mm以上,遠距離(30m以內)、高處、危險處、調壓困難的場合。
定值器是一種高精度的減壓閥,主要用于壓力定值。目前有兩種壓力規格的定值器:其氣源壓力分別為0.14MPa和0.35MPa,輸出壓力范圍分別為0—0.1MPa和0一0.25MPa。其輸出壓力波動不大于最大輸出壓力的1%,常用于需要供給精確氣源壓力和信號壓力的場合,如氣動實驗設備、氣動自動裝置等。

圖14—4所示為定值器的工作原理圖。它由三部分組成:1是直動式減壓閥的主閉部分;2是恒壓降裝置,相當于一定差減壓閥。主要作用是使噴嘴得到穩定氣源流量;3是噴嘴擋板裝置和調壓部分,起調壓和壓力放大作用,利用被它放大了的氣壓去控制主閥部分。
由于定值器具有調定、比較和放大的功能,因而穩壓精度高。 定值器處于非工作狀態時,由氣源輸入的壓縮空氣經過濾器1過濾后進入A室和正室。主閥芯19在彈簧20和氣源壓力作用下壓在閥座上,使A室與B室斷開。進入A室的氣流經由閥口(又稱為活門)12至F室,再通過恒節流孔13降壓后,分別進入G室和D室。由于這時尚未對膜片8加力,擋板5與噴嘴4之間的間距較大,氣體從噴嘴4流出時的氣流阻力較小,G室及D室的氣壓較低,膜片3及15保持原始位置。進入只室的微量氣體主要經B室通過閥口2從排氣口排出;另有一部分從輸出口排空。此時輸出口無氣流輸出,由噴嘴流出而排空微量氣體是維持噴嘴擋板裝置工作所必須的,因其為無功耗氣量,所以希望其耗量越小越好。
定值器處于工作狀態時,轉動手柄7,壓下彈簧6并推動膜片8連同擋板5一同下移、擋板5與噴嘴4的間距縮小,氣流阻力增加,使G室和D室的氣壓升高。膜片16在D室氣壓的作用下下移,將閥口2關閉,并向下推動主閥芯19,打開閥口,壓縮空氣經B室和H室由輸出口輸出。與此同時,H室壓力上升并反饋到膜片8上,當膜片8所受反饋作用力與彈簧力平衡時,定值器便輸出一定壓力的氣體。 當輸入壓力波動時,如壓力上升,B室和H室氣壓瞬時增高、使膜片8上移,導致擋板5與噴嘴4之間的間距加大,G室和D室的氣壓下降。由于B室壓力增高,D室壓力下降,膜片15在壓差的作用下向上移動,使主閥口減小,輸出壓力下降,直到穩定到調定壓力上。此外,在輸入壓力上升時,E室壓力和F室瞬時壓力也上升,膜片3在上下差壓的作用下上移,關小穩壓閥口12。由于節流作用加強,F室氣壓下降,始終保持節流孔13的前后壓差恒定,故通過節流孔13的氣體流量不變,使噴嘴擋板的靈敏度得到提高。當輸入壓力降低時,B室和H室的壓力瞬時下降,膜片8連同擋板5由于受力平衡破壞而下移,噴嘴4與擋板5間間距減小,G室和D室壓力上升,膜片3和15下移。膜片15下移使主閥口開度加大,使B室及H室氣壓回升,直到與調定壓力平衡為止。而膜片3下移,使穩壓口12開大,F室氣壓上升,始終保持恒節流孔13前后壓差恒定。同理,當輸出壓力波動時,將與輸入壓力波動時得到同樣的調節。
由于定值器利用輸出壓力的反饋作用和噴嘴擋板的放大作用控制主閥,使其能對較小的壓力變化作出反應,從而使輸出壓力得到及時調節,保持出口壓力基本穩定,即定值穩壓精度較高。